4 月 9 日消息,科技媒体 Appleinsider发布博文,挖掘发现苹果最新获批的专利,揭示未来 Apple Vision Pro 头显有望采用模块化设计。
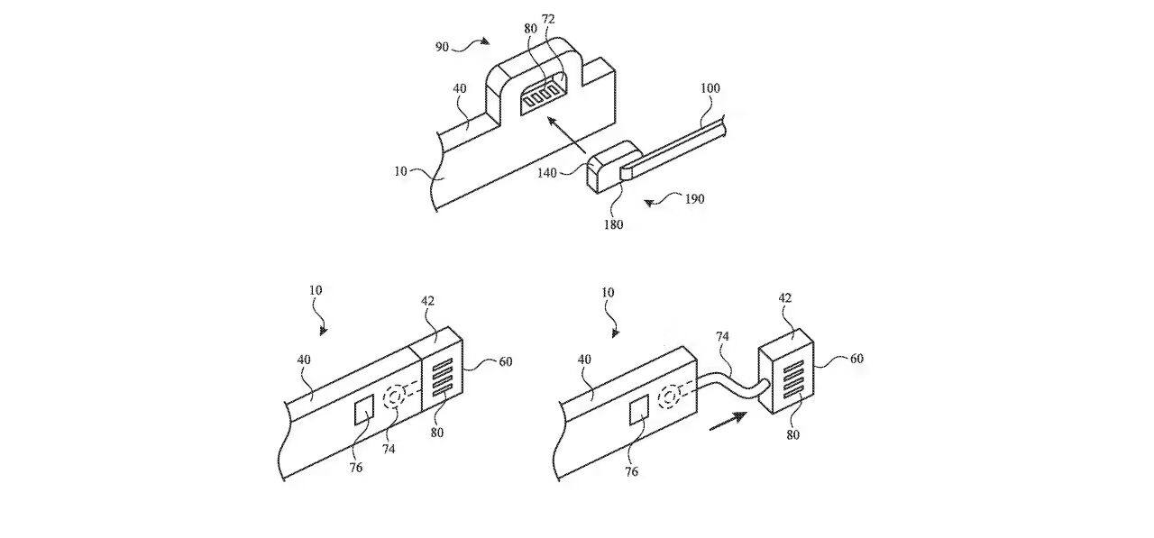
该专利名称为《可连接配件的头戴式设备》,共有 28 页,核心设计理念是将头显转化为可扩展的平台,主机无需集成所有永久性功能组件,用户可通过连接配件按需扩展功能。
该设计直接回应了用户对设备重量与续航平衡的诉求。专利描述用户可自主选择牺牲部分电池容量以减轻设备重量,或为户外使用更换大容量电池,甚至可更换低分辨率显示屏来延长续航时间。
模块化架构还为专业领域应用打开了想象空间。专利指出,高带宽连接接口可支持制造商开发医疗、眼科及工业制造领域的专用传感器或高级摄像头。
在商业模式上,该方案类似“按需组装”或配件销售。虽然目前苹果尚未建立类似“Made for iPhone”的 Vision Pro 配件认证计划,但若开放硬件生态,将大幅提升设备的市场潜力。专利图纸显示,未来设备主体可能仅保留一个框架,通过机械咬合与数据通信接口连接各类模块。
来源:IT之家

艾邦建有AR/VR产业链微信群,目前有HTC、PICO、OPPO、亮亮视野、光粒科技、影创、创维、佳视、歌尔、立讯精密、多哚(纳立多)、欣旺达、耐德佳,联创电子、至格科技、灵犀微光、舜宇光学、广景视睿、珑璟光电、京东方、海信视像、科煦智能、阿科玛、金发科技、思立可、新安天玉、四方超轻、大族激光、发那科、承熹机电等加入,也欢迎大家长按下方图片识别二维码加入微信群:
资料下载:
欢迎您点击此处加入AR/VR通讯录,目前已经有3000多人加入,如歌尔、HTC、OPPO、创维、PICO、字节跳动、黑鲨、联想、耐德佳、灵犀微光、立讯、领益智造、欧菲光、华勤、闻泰、立讯、珑璟光电、舜宇、深圳虚拟现实等,点击下方关键词可以筛选

作者 sun, keting