

雷鸟Air 4系列是全球首款 HDR 观影眼镜,支持 AI 动态 HDR 显示,峰值亮度达到 1200nits,第一次实现了 SDR 转 HDR 的能力。
眼镜重约76克,搭载5.5代Micro-OLED双层屏幕,可呈现135英寸巨幕效果,支持120Hz高刷新率、10.7亿色显示、HDR10显示。
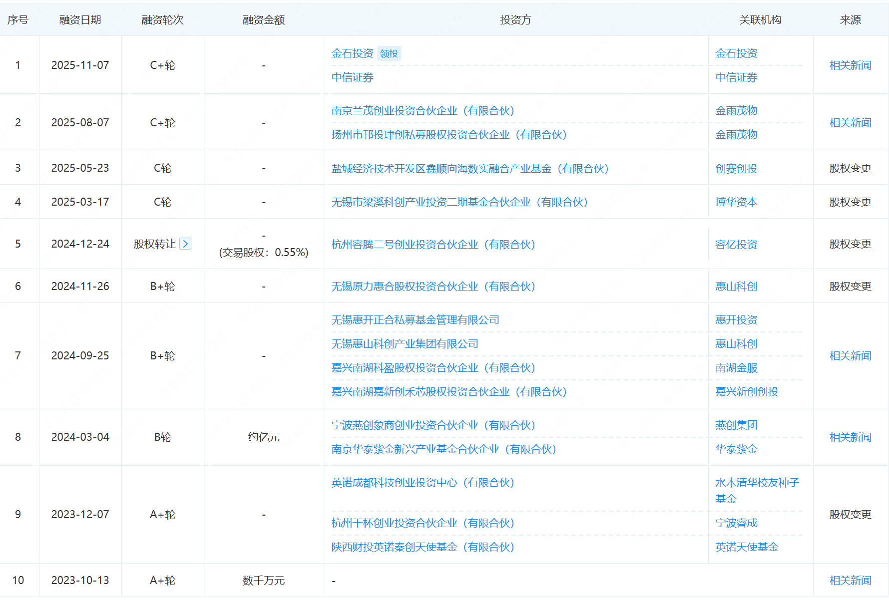
2025年8月,雷鸟创新完成C++轮融资,由金雨茂物投资。加上本轮融资,据不完全统计,从2021年至今,雷鸟创新已完成约12轮融资。


雷鸟创新融资动态(信息来源:企查查)
来源:艾邦智造整理

资料下载:
欢迎您点击此处加入AR/VR通讯录,目前已经有3000多人加入,如歌尔、HTC、OPPO、创维、PICO、字节跳动、黑鲨、联想、耐德佳、灵犀微光、立讯、领益智造、欧菲光、华勤、闻泰、立讯、珑璟光电、舜宇、深圳虚拟现实等,点击下方关键词可以筛选

